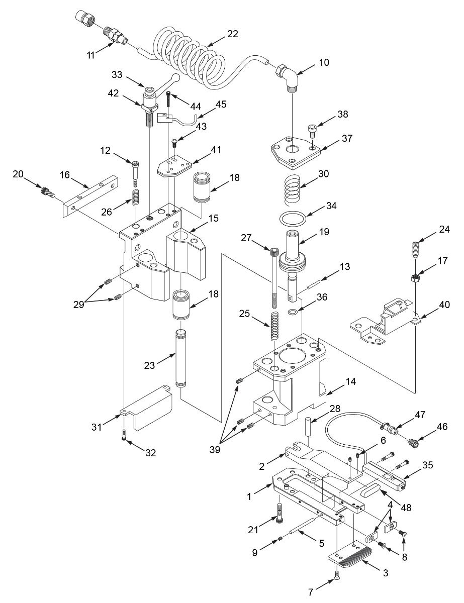
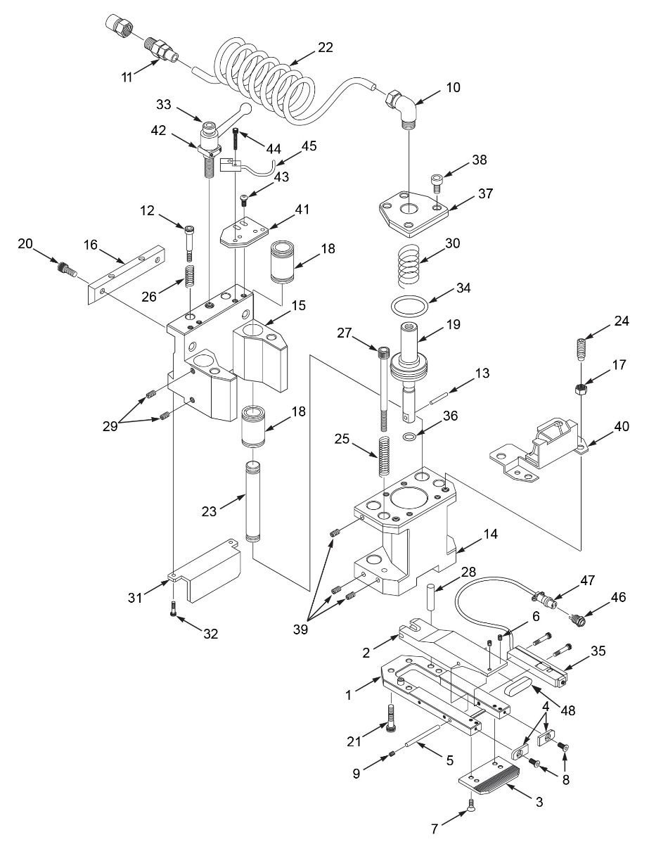
Replacement Parts For A0102-CA

Replacement Parts For A0102-CA
Replacement Parts For A0102-CA Replacement Parts For A0102-CA
Order Replacement Parts
Illustration # Part # Product Description Qty
N/A A0102-CA
EM / EMLK 10mm Pneumatic Complete Assy.

Amada # 3830123 / 74298330

Disponibilidad:
1 En existencias
USD 1,999.00
1 A0214-CBA
Clamp Base Assy - EM 10mm

Amada # 74415769 / 3809590a

Disponibilidad:
20+ En existencias
USD 489.00
1 A0300-B
Clamp Base EM

Amada # 74335907 / 826270 /74571335

Disponibilidad:
20+ En existencias
USD 315.00
2 A0414-CL
EM 10mm Clamper

Amada # 826277 / 74161549

Disponibilidad:
20+ En existencias
USD 209.00
3 A0500-CP
Clamp Plate EM

Amada # 74569334 / 826272 / 74161576 / 74569480 / 826274

Disponibilidad:
20+ En existencias
USD 41.00
4 A0601-SP
Stopper Plate

Amada # 74161353 / 816026

Disponibilidad:
20+ En existencias
USD 10.00
5 A0794
Straight Pin M6 X 60

Amada # 74571118 / 826285

Disponibilidad:
20+ En existencias
USD 1.50
6 A0830
Set Screw M5x6 Pkg of 10 (For Clamper Tip)

Set Screw cup M5 X 6 Pkg of 10

Disponibilidad:
20+ En existencias
USD 3.00
7 A0821
Screw Clamp Plate EM pkg 10

Amada # 74569335 / 826035 (m6x12)

Disponibilidad:
19 En existencias
USD 3.00
8 A0832
Screw M4x10 Pkg of 10 for Stopper Plate

Amada # 40011066 / m4x10 / Screw M4 x 10 Pkg of 10SP

Disponibilidad:
20+ En existencias
USD 3.00
9 A0835
Set Screw M8 X 8 Each

Amada # 74722739 / p330590023

Disponibilidad:
20+ En existencias
USD 0.40
10 A4155
Male Elbow

Amada # 74169983

KQL06-02S Male Elbow

Tube Size: 6mm

1/4 inch PT

Disponibilidad:
20+ En existencias
USD 5.75
11 A4123
Male Connector

KQH06-02S Male Connector

Tube Size: 6mm

1/4 inch PT

Disponibilidad:
20+ En existencias
USD 6.90
12 A0887
Shoulder Bolt M8 X 25

p337135015 / Shoulder Bolt M8 x 25

Disponibilidad:
20+ En existencias
USD 3.00
13 A0882
Pin-Pneumatic Piston

p337020028 / Pin for Pneumatic Piston

Disponibilidad:
20+ En existencias
USD 1.00
14 A0874
Clamp Body-Piston Side Pneumatic New

Amada # 74335816 / Body Piston Side Pneumatic New

Disponibilidad:
20+ En existencias
USD 499.00
15 A0879
Clamp Body-Dove Tail Side New

Amada # 74335806 / 826181a

Disponibilidad:
20+ En existencias
USD 499.00
16 A0881
Dove Tail Plate

Amada # 74165903 / 816004

Disponibilidad:
20+ En existencias
USD 44.00
17 A0819
M10 Jam Nut

10427991 / P332000006

Disponibilidad:
20+ En existencias
USD 1.00
18 A0862
Linear Bearing

Linear Bearing ST16B

Disponibilidad:
20+ En existencias
USD 24.99
19 A0620
Clamp Piston

Amada # 74303513 / 826184b / Clamp Piston (Amada)

Disponibilidad:
20+ En existencias
USD 375.00
20 A0875
Bolt

Amada # 74165904 / 816005

Disponibilidad:
20+ En existencias
USD 9.90
21 A0895
Bolt M8 X 25

Amada # 36147516 / screw SHCS M8x25

Disponibilidad:
20+ En existencias
USD 1.00
22 A0876
Clamp Coil Tubing

Clamp Coil Tubing

Disponibilidad:
20+ En existencias
USD 18.00
23 A0898
Rod 16mm x 120 mm

Rod 16mm x 120mm

Disponibilidad:
20+ En existencias
USD 18.00
24 A0820
M10 x 25 Dog End Set Screw

52332269 / P330570035

Disponibilidad:
20+ En existencias
USD 3.00
25 A0877
Hanging Spring

Amada # 74390105 / 826218

Disponibilidad:
20+ En existencias
USD 5.00
26 A0888
Spring

Amada # 74165905 / 816006

Disponibilidad:
20+ En existencias
USD 3.00
27 A0902
Screw SHCS M6 X 100MM

Amada # 90106100 / M6 X 100

Disponibilidad:
20+ En existencias
USD 1.00
28 A0966
Dowel Pin

Amada # 74377352

Disponibilidad:
20+ En existencias
USD 3.00
29 A0831e
Screw M4 X .7 x 6 Pkg of 10

Set Screw cup M4 X .7 x 6

Disponibilidad:
20+ En existencias
USD 1.90
30 A0846
Cylinder Spring

Amada # 74161330 / 806005

Disponibilidad:
20+ En existencias
USD 19.00
31 A0802
EMLK Sensor Dog L50x50x6

Amada # 74812178 /3809552

Disponibilidad:
8 En existencias
USD 69.00
32 A0838
M4 X .7 X 12 MM Pkg of 10

Screw M4 X .7 X 12MM Pkg of 10

Disponibilidad:
20+ En existencias
USD 3.00
33 A0812
Clamp Lever (Steel) 12MM

Clamp Lever Assembly - 12MM
Amada # 806075

Disponibilidad:
20+ En existencias
USD 29.00
34 A9234
O-Ring P-50A

O-Ring P-50A

Disponibilidad:
20+ En existencias
USD 1.50
35 A0854
Sheet Sensor EM

Amada # 74161243 / 7420920b / 74898008 / 3830190

Disponibilidad:
No está disponible
USD 329.00
36 A9220
O-Ring P-12

O-Ring P-12

Disponibilidad:
20+ En existencias
USD 0.75
37 A0878
Cylinder Cap

Amada # 74303522 / 826188

Disponibilidad:
20+ En existencias
USD 150.00
38 A0839k
Socket Cap Screw-M6 x 12 Pkg of 10

Socket Cap Screw-M6 x 12 PKG OF 10

Disponibilidad:
13 En existencias
USD 2.90
39 A0889a
Set Screw M6 X 6 (PKG of 10)

Set Screw M6 X 6 PKG of 10

Disponibilidad:
15 En existencias
USD 3.00
40 A0817
EM Cable Bracket

Amada # 74419245 / 6873680

Disponibilidad:
20+ En existencias
USD 89.00
41 A0818
EM Sensor Bracket

Amada # 74419245 / 6826888

Disponibilidad:
20+ En existencias
USD 22.50
42 A0814
Dog EM Handle

Amada # 74575238 / 6826267

Disponibilidad:
20+ En existencias
USD 59.00
43 A0822
M6 x 10 Button Head Screw

Amada # 43130517 / m6x10

Disponibilidad:
20+ En existencias
USD 0.25
44 A0807
M3 x 14 cap screw

M3 x 14 cap screw

Disponibilidad:
20+ En existencias
USD 0.20
45 A6505
EM CLAMP Position Switch

Amada # 31177273 / FL2R-4J6HD / 74419246

Disponibilidad:
20+ En existencias
USD 85.00
46 A0863
Sheet Sensor Plug EM male

Amada # 74569255

Disponibilidad:
20+ En existencias
USD 35.00
47 A0864
Sheet Sensor Plug EM Female

Amada # 74569254 / Plt-162-p

Disponibilidad:
20+ En existencias
USD 35.00
48 A0850
Urethane Boot - For Clamper Tip

Urethne Boot - For Clmper Tp 1

Disponibilidad:
20+ En existencias
USD 25.00
N/A A0864a
Connect Block For PLT-162

Amada # 74398503 / 829171

Disponibilidad:
13 En existencias
USD 25.00
N/A A0816
EM Sensor Dog

Amada # 74812178 / 3809552

Disponibilidad:
20+ En existencias
USD 39.00
N/A A0811
Clamp Lever (Steel) 10MM

Amada # 74161342 / 806075 / 74161343 / 71368820

Disponibilidad:
20+ En existencias
USD 29.00
N/A A0840
Shims .010 - Pkg of 10.

Shims .010 - Pkg of 10

Disponibilidad:
20+ En existencias
USD 24.00
N/A A0841
Shims .003 - Pkg of 10

Shims .003 - Pkg of 10

Disponibilidad:
20+ En existencias
USD 24.00
N/A A0842
Shims .005 - Pkg of 10

Shims .005 - Pkg of 10

Disponibilidad:
20+ En existencias
USD 24.00
N/A A0867
Standard Circular Connector Plug

Amada # 74400041 / 74419246

Disponibilidad:
20+ En existencias
USD 32.00
N/A A0945
PLT-163-R male plug

PLT-163-R male plug

Disponibilidad:
20+ En existencias
USD 15.00
N/A A0946
PLT-163-P female plug

PLT-163-P female plug

Disponibilidad:
20+ En existencias
USD 15.00
Request Quote

Ask a Question?

Descripción / Replacement Parts For A0102-CA

Replacement Parts For A0102-CA

3830123 / 74298330

Write Your Own Review
Estás revisando: Replacement Parts For A0102-CA
loader
Loading...

Enviaste tu opinión para moderación.

Need a Quote?

WhatsApp Chat WhatsApp Chat